Urinario con detección de radar invisible LIVO
para una instalación estética y a prueba de vandalismo...
URINARIO DE CERÁMICA LIVO CON DETECCIÓN DE RADAR INVISIBLE
Diseñado para espacios públicos y sanitarios de alto tránsito, con toma y fuente de alimentación empotrada y sistema de descarga automático integrado.
Con su forma de diseño, este urinario de 1 litro con acción sinfónica ahorra agua y costes al tiempo que evita los malos olores.
Instalación rápida «Plug and Play» con detección por radar incorporada en la cerámica = solo hay que fijar y conectar, y el urinario está listo para el uso.
Versión a batería: pilas accessibles desde la parte inferior (sin necesidad de desmontaje).
Modos ECO para un ahorro significativo de agua:
ECO 1: Reducción del número de enjuagues durante períodos de uso intensivo (escuelas, teatros, estadios...).
ECO 2: El urinario se enjuaga después de cada uso, pero no siempre con el mismo volumen de agua.
Parámetros ajustables según la frecuencia de uso.
Incluido control BlueTooth: aplicación de descargar para el parámetro fácil de las funcionalidades del urinario desde su teléfono o tableta.
- Descarga económica 1 L (ajustable de 0.5L a 3L).
- Instalación fácil mediante la plantilla suministrada.
- Accionamiento solo al uso del urinario (detecta el movimiento del agua o de la orina).
- Tiempo de descarga ajustable de 0,5 a 15,5 seg.
- Tiempo mínimo de uso antes del accionamiento ajustable de 6 a 15 seg.
- Parámetros ajustables mediante el control remoto SLD04 (sin necesidad de desmontar el urinario).
- Enjuague automático tras 6 H sin uso.
- Seguridad antidesbordamiento.
- Posibilidad ajustar el flujo con la válvula de cierre.
- Recarga de agua en el sifón después de cada descarga.
![]() |
![]() |
| De pilas |
En el sector |
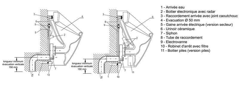
- Detección
- Radar oculto detrás de la cerámica
- Alimentación eléctrica
- A red 230V
Pila 6V
Transformador externo 230/24V - Consumo
- 10 W sur 24 V ; 1,4 W sur 6 V
- Composición
- Cerámica blanca
- Entrada de agua
- M1/2'' roscada
- Evacuación
- Ø 50 mm
- Presión
- 1-6 bar
- Caudal
- 12 L/min.
- Volumen de descarga
- 1 L (ajustable 0.5 a 4L/min.)
- Parámetros de funcionamiento
- Ajustables por control remoto SLD04: sensibilidad detección, tiempo de drenaje, enjuague periódico, parada temporal...
- Dimensiones
- An. 360 x Pr. 327 x Al. 575 mm
- Garantía
- Electrónica 5 años
URINARIO DE CERÁMICA LIVO CON DETECCIÓN DE RADAR INVISIBLE
Diseñado para espacios públicos y sanitarios de alto tránsito, con toma y fuente de alimentación empotrada y sistema de descarga automático integrado.
Con su forma de diseño, este urinario de 1 litro con acción sinfónica ahorra agua y costes al tiempo que evita los malos olores.
Instalación rápida «Plug and Play» con detección por radar incorporada en la cerámica = solo hay que fijar y conectar, y el urinario está listo para el uso.
Versión a batería: pilas accessibles desde la parte inferior (sin necesidad de desmontaje).
Modos ECO para un ahorro significativo de agua:
ECO 1: Reducción del número de enjuagues durante períodos de uso intensivo (escuelas, teatros, estadios...).
ECO 2: El urinario se enjuaga después de cada uso, pero no siempre con el mismo volumen de agua.
Parámetros ajustables según la frecuencia de uso.
Incluido control BlueTooth: aplicación de descargar para el parámetro fácil de las funcionalidades del urinario desde su teléfono o tableta.
- Descarga económica 1 L (ajustable de 0.5L a 3L).
- Instalación fácil mediante la plantilla suministrada.
- Accionamiento solo al uso del urinario (detecta el movimiento del agua o de la orina).
- Tiempo de descarga ajustable de 0,5 a 15,5 seg.
- Tiempo mínimo de uso antes del accionamiento ajustable de 6 a 15 seg.
- Parámetros ajustables mediante el control remoto SLD04 (sin necesidad de desmontar el urinario).
- Enjuague automático tras 6 H sin uso.
- Seguridad antidesbordamiento.
- Posibilidad ajustar el flujo con la válvula de cierre.
- Recarga de agua en el sifón después de cada descarga.
![]() |
![]() |
| De pilas |
En el sector |
- Detección
- Radar oculto detrás de la cerámica
- Alimentación eléctrica
- A red 230V
Pila 6V
Transformador externo 230/24V - Consumo
- 10 W sur 24 V ; 1,4 W sur 6 V
- Composición
- Cerámica blanca
- Entrada de agua
- M1/2'' roscada
- Evacuación
- Ø 50 mm
- Presión
- 1-6 bar
- Caudal
- 12 L/min.
- Volumen de descarga
- 1 L (ajustable 0.5 a 4L/min.)
- Parámetros de funcionamiento
- Ajustables por control remoto SLD04: sensibilidad detección, tiempo de drenaje, enjuague periódico, parada temporal...
- Dimensiones
- An. 360 x Pr. 327 x Al. 575 mm
- Garantía
- Electrónica 5 años
Productos complementarios
Productos relacionados


























































